Via Dei, le chemin de Dieu

«Lorsque l'incrédulité devient une foi, elle est moins raisonnable qu'une religion»
Edmond de Goncourt

Via Dei > Science & medias > La face cachée des écrans       

La face cachée des écrans ou comment contrôler le cerveau...

Nos gouvernants, de tous bords, ne rêvent que d'une chose, c'est de gouverner le plus sereinement possible. De gérer le troupeau de moutons — que nous sommes à leurs yeux — en déployant le moins d'effort possible. Vous conviendrez qu'il est plus simple de conduire un troupeau de moutons assoupis qu'une meute de loups enragés.

Contrôler les moutons et s'assurer qu'ils aillent là où on souhaite qu'ils aillent. Voici donc la priorité de nos dirigeants.
Un bon mouton est un mouton qui pense comme les autres moutons. Et si d'aventure ce n'est pas le cas, on mettra tout en oeuvre pour y remédier.

Si vous croyez que les recherches actuelles sur le contrôle du cerveau des cochons décapités ou des scarabées télécommandés ont pour but de guérir l'Alzheimer ou de sauver des vies lors des catastrophes naturelles (sic), vous vous leurrez gravement...


Voir la vidéo





...en manipulant le système nerveux

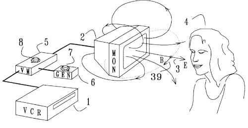
Un brevet a été déposé aux USA en 2001 qui ne vise, rien de moins, que le contrôle du système nerveux des humains par le biais de champs électro-magnétiques impulsés par l'affichage d'images sur des écrans d'ordinateur, de TV ou de téléphone mobile. Le titre de la description de ce brevet indique noir sur blanc qu'il a pour objet la manipulation du système nerveux par le biais de champs électro-magnétiques !
Comprenez bien ceci : un brevet signifie qu'ils sont parvenus déjà à un résultat scientifiquement reproductible...

Descriptif accompagnant le brevet

Graphique illustrant le brevet de manipulation du système nerveux


Posez-vous la question : pourquoi de plus en plus de contenus gratuits (films, musique, jeux, contenus pornographiques) sont-ils de plus en plus librement disponibles et accessibles à la télévision ou sur internet ?

Pourquoi de plus en plus de gens sont-ils apathiques et amorphes devant les évènements qui s'enchaînent pourtant devant leurs yeux ?

Comprenez bien que nous sommes ici bien au-delà du temps de cerveau disponible vendu par Patrick Le Lay en son temps...

Michel Desmurget est un spécialiste reconnu en neuro-science

Ce brevet a été déposé en 2001, pensez-vous vraiment que les scientifiques n'ont pas avancé dans leur recherches depuis cette date ?
Je ne peux pas répondre précisément à cette question mais l'actualité nous offre un aperçu de l'ingénuosité des avancées technologiques lorsqu'il s'agit de manipuler l'être humain et de le duper :




Nous avons compris comment ils s'y prenaient pour essayer d'endormir le troupeau.
L'ultime question est : pour le conduire où ?

Liens

Contrôle d'un scarabée par le biais d'une puce implantée dans le cerveau
Contrôle du cerveau de cochons décapités
Brevet sur la manipulation du système nerveux via les écrans
Brevet de Facebook pour contrôler les smartphones
Vidéo : les méfaits de la télévision d'un point de vue scientifique



 31-07-2018   Imprimer   Copie autorisée si source viadei.fr

  Vous pouvez réagir à cet article ! Vos commentaires sont les bienvenus !

Votre nom* :
Site web :
Votre commentaire* :

Devinette* :

Quelle est la somme des deux derniers chiffres dans le nombre "61345745" ?
Répondre en lettre ci-dessous...


 

Les champs marqués * sont obligatoires. La publication des commentaires est soumise à validation.
Site créé à la gloire de Jésus-Christ